Istruzioni di posa
Istruzioni di posa
Seleziona uno o più capitoli da scaricare.
Indice

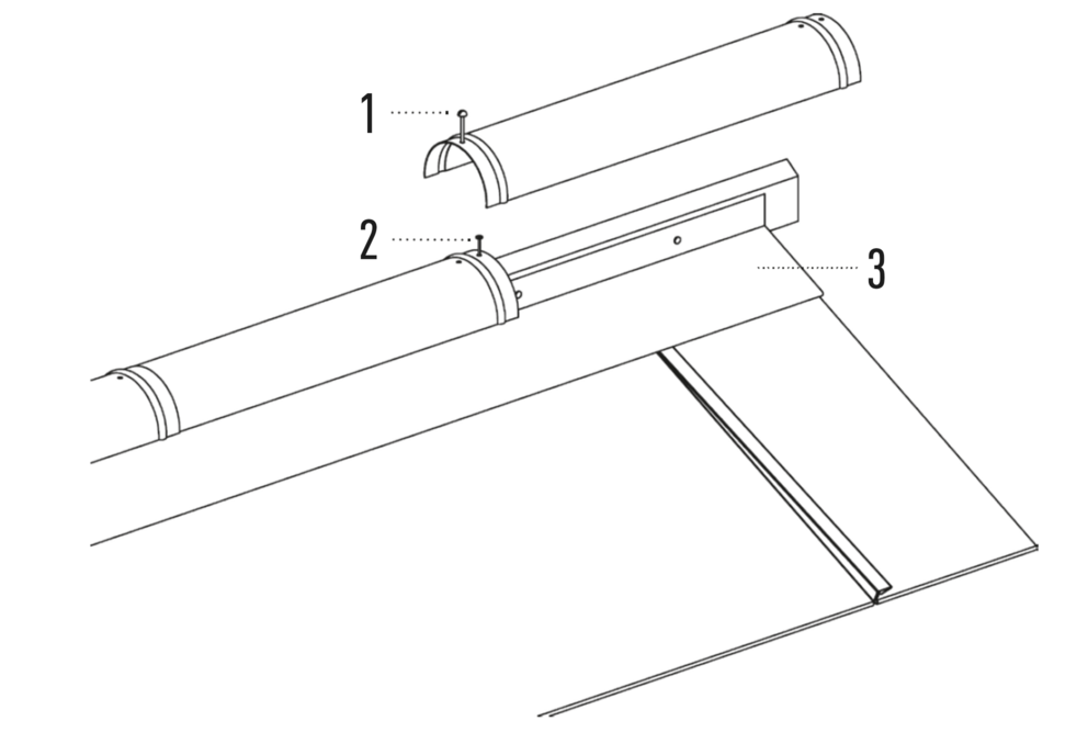
Grondalina di partenza per tegola

Montaggio della grondalina di partenza

Il margine sporgente della grondalina di partenza deve essere nel terzo posteriore della larghezza del canale di gronda e non deve superare gli 80 mm.
Misurare 450 mm dal bordo superiore della prima tegola in direzione della gronda (assicurarsi che la sporgenza della gronda sia compresa tra 30 e 80 mm). Fare un segno a 150 mm (larghezza della grondalina di partenza) dal basso (= bordo superiore della grondalina di partenza).

Ripetere la procedura analoga sul secondo lato della linea di gronda e collegare questi segni con un tratto orizzontale di cordino colorato.

La grondalina di partenza va inchiodata in modo tale da essere resistente ai carichi di vento (utilizzare tutti i fori predisposti). Fermare la grondalina di partenza fino in fondo prima di inchiodare i chiodi PREFA in dotazione in tutti i fori predisposti.

Nota

Maggiore sarà la precisione con cui si installa la grondalina di partenza, più facile sarà ottenere una posa di livello professionale del sistema di copertura PREFA.
Assicurarsi che la grondalina di partenza venga posata sotto lo strato separatore.

Grondalina di partenza

Montaggio della grondalina di partenza

Il margine sporgente della grondalina di partenza deve essere nel terzo posteriore della larghezza del canale di gronda e non deve superare gli 80 mm.
Il fissaggio della grondalina di partenza si effettua in linea retta su tutta la lunghezza della linea di gronda con l'aiuto di un tratto di cordino precedentemente eseguito tirato.
La grondalina di partenza va inchiodata in modo tale da essere resistente ai carichi di vento (utilizzare tutti i fori predisposti).
Poi si procede alla determinazione dell'angolo retto verticale.
Fermare la grondalina di partenza fino in fondo prima di inchiodare i chiodi PREFA in dotazione in tutti i fori predisposti.

Nota

Maggiore sarà la precisione con cui si installa la grondalina di partenza, più facile sarà ottenere una posa di livello professionale del sistema di copertura PREFA. A scopo di ausilio, sono previsti dei contrassegni (misura traccia) per le rispettive coperture PREFA.

Assicurarsi che la grondalina di partenza venga posata sotto lo strato separatore.

Particolarità della tegola R.16 e del pannello per tetto FX.12

Per la tegola R.16 o il pannello FX.12, allineare la grondalina di partenza con la tacca impressa verso il centro del tetto.
A questo proposito occorre fare attenzione che l'area per la ripiegatura laterale (ad es. raccordo con il frontone) non si trovi nell'area dell'aggraffatura della tegola R.16 o del pannello FX.12. Se necessario, spostare la grondalina di partenza di un quarto della dimensione di una tegola R.16 o di un pannello FX.12.

Specifica per la scaglia 29 × 29 e la scaglia 44 × 44

Allineare la grondalina di partenza con i segni impressi al centro del tetto.
A questo proposito occorre fare attenzione che l'area per la ripiegatura laterale (ad es. raccordo con il frontone) non si trovi al centro delle scaglie 29 × 29 o 44 × 44.
. Se necessario, spostare la grondalina di partenza di un quarto della dimensione (1/4 della dimensione della traccia verticale) di una scaglia 29 × 29 o 44 × 44.

Rivestimento in mantovane e raccordo laterale

  • Piegare la copertura PREFA verso l'alto di 30 mm ad angolo retto rispetto alla superficie del tetto (fig. 1).
  • Martellare il bordo superiore della striscia di fissaggio originale del frontone sul bordo superiore del frontalino e inchiodarla in modo che sia resistente alle intemperie (fig. 2).
  • Nelle zone nevose, il rivestimento degli abbaini deve essere realizzato come mostrato nella figura 3.
  • Nel caso del rivestimento della mantovana con frontalino rialzato eseguire la variante mostrata nella figura 4.

Particolarità del pannello per tetto R.16 e del pannello per tetto FX.12

Nella zona del bordo ripiegato, sganciare l’aggraffatura superiore, in modo che resti un'aggraffatura per la staffa, e piegare la tegola R.16 o il pannello per tetto FX.12 di 30 mm ad angolo retto rispetto alla superficie del tetto (fig. 1 + 2).

Specificità per le scandole

Per ogni ripiegatura delle scandole sul lato sinistro (mantovana e conversa), è necessario fare delle tacche sulle aggraffature che corrono diagonalmente verso il basso per evitare un effetto di capillarità.

  • Segnare l'area della ripiegatura e 30 mm di margine dell'aggraffatura (fig. 1).
  • Tagliare la scandola con il margine dell'aggraffatura (fig. 2).
  • Realizzare una tacca sull'aggraffatura (Fig. 3 e 4).
  • Coprire e ripiegare le scandola che si sono sganciate (fig. 5 + 6).

Variante con scandola accorciata o scandola XL

Altre varianti sono quelle di mettere le aggraffature inclinate con una scandola accorciata o con una scandola XL al di fuori della zona di ripiegatura.

Variante 1: Scandola accorciata
Accorciare l'ultima scandola prima del bordo ripiegato e inserirla fig. 7 e 8)

Variante 2: Scandola XL
Mettere la scandola XL, tagliarla con un margine di aggraffatura di 30 mm e ripiegare il bordo verso l’alto (fig. 8 e 9).

Una realizzazione a regola d’arte garantisce la tenuta alla pioggia.
Dopo aver preparato la scandola, è possibile realizzare la scossalina (ad es. la scossalina dell’abbaino o la scossalina per raccordo a parete) e integrarla nella copertura.

Particolarità della scandola DS.19

Per ogni ripiegatura delle scandole DS.19 sul lato sinistro (mantovana e conversa), è necessario fare delle tacche sulle aggraffature che corrono diagonalmente verso il basso per evitare un effetto di capillarità.

  • Segnare l'area della ripiegatura e 30 mm di margine dell'aggraffatura e tagliare sul margine di aggraffatura (fig. 1).
  • Realizzare delle tacche sull'aggraffatura (Fig. 2 + 3).
  • Coprire e ripiegare le scandola DS.19 che si sono sganciate (fig. 4 e 5).

Variante scandola XL DS.19

Una variante è quella di mettere le aggraffature inclinate con una scandola XL DS.19 al di fuori della zona di ripiegatura.

  • Inserire la scandola XL DS.19 e marcare l'aggraffatura che corre in diagonale sulla bordatura superiore della scandola stessa (fig. 6).
  • Intorno alla marcatura, ritagliare la bordatura della scandola a forma di mezzaluna (fig. 7).
  • Inserire la scandola XL DS.19 e fissarla (fig. 8).
  • Ripiegare verso l'alto il bordo della copertura. (figur 9 + 10):

Nota

La scandola XL DS.19 non è adatta per una copertura completa.
ATTENZIONE: Non è possibile accorciare una scandola DS.19 a causa della nervatura capillare.

Una realizzazione a regola d’arte garantisce la tenuta alla pioggia.
Dopo aver preparato la scandola DS.19, è possibile realizzare la scossalina (ad es. rivestimento del frontone o scossalina per raccordo a parete) e integrarla nella copertura.

Particolarità della scaglia 29 × 29

Per ogni ripiegatura laterale della scaglia 29 × 29 (mantovane e conversa) è necessario tagliare e piegare verso l’alto i bordi inclinati verso il basso sul lato inferiore.

  • Contrassegnare l'area di ripiegatura e il margine di piegatura di 30 mm
  • Tagliare la scaglia 29 × 29 sul margine dell'aggraffatura e fare una tacca sull'aggraffatura (fig. 1).
  • Piegare il raccordo dell'aggraffatura e tagliarlo con forma rotonda (fig. 2).
  • Posare la scaglia 29 × 29 sganciata e ripiegare i bordi (fig. 3 e 4).

Una realizzazione a regola d’arte garantisce la tenuta alla pioggia.

Dopo aver preparato la scaglia 29 × 29, è possibile realizzare la scossalina di collegamento (ad es. la scossalina dell’abbaino o per raccordo a parete) e integrarla nella copertura.

Particolarità della scaglia 44 × 44

Per ogni ripiegatura laterale della scaglia 44 × 44 (mantovane e conversa) è necessario tagliare e piegare verso l’alto i bordi inclinati verso il basso sul lato inferiore.

  • Contrassegnare l'area di ripiegatura e il margine di piegatura di 30 mm
  • Tagliare la scaglia 44 × 44 sul margine dell'aggraffatura e fare una tacca sull'aggraffatura (fig. 1).
  • Piegare il raccordo dell'aggraffatura e tagliarlo con forma rotonda (fig. 2).
  • L'aggraffatura diagonale deve essere tagliata sul lato superiore nella zona del bordo ripiegato (fig. 3).
  • Posare la scaglia 44 × 44 intaccata e ripiegare i bordi (Fig. 4).

Una realizzazione a regola d’arte garantisce la tenuta alla pioggia.
Dopo aver preparato la scaglia 44 × 44, è possibile realizzare la scossalina (ad es. la scossalina dell’abbaino o per raccordo a parete) e integrarla nella copertura.

Raccordo al compluvio

Variante con compluvio con ripiega di sicurezza

1 Tegola
2 Membrana sottomanto
3 Graffetta di fissaggio

4 Conversa di compluvio
5 Tavola di compluvio

PREFA consiglia il compluvio con ripiega di sicurezza.
Fondamentalmente, è l’installatore a decidere se usare un compluvio con ripiega di sicurezza in base alla sua esperienza e formazione. Il compluvio con ripiega di sicurezza offre una maggiore sicurezza rispetto alle normali converse di compluvio per quanto riguarda il ristagno nella zona sensibile del compluvio.


Vantaggi del compluvio con ripiega di sicurezza

  • Sicuro contro il ristagno grazie alla piega posteriore supplementare
  • Prodotto PREFA prefabbricato
  • Pieghe supplementari nell'area della sovrapposizione
  • Nervature capillari nell'area della sovrapposizione
  • Migliore calpestabilità, maggiore stabilità

Variante con compluvio realizzato artigianalmente

1 Tegola
2 Membrana sottomanto
3 Graffetta di fissaggio

4 Conversa di compluvio
5 Tavola di compluvio

  • Piegare la conversa di compluvio fino a una lunghezza massima di 3.000 mm.
  • L'aggraffatura laterale per l'acqua deve essere piegata su entrambi i lati con una larghezza di 40 mm.
  • La larghezza del taglio dipende dalla forma del tetto, dalla pendenza del tetto e dalle condizioni e non deve essere inferiore a 500 mm.
  • Se la pendenza del tetto o l'incidenza dell'acqua variano notevolmente, è bene prevedere un compluvio incassato o con un'aggraffatura al centro della scossalina del compluvio.

Raccordo del compluvio

  • Per il raccordo del compluvio, viene eseguita una marcatura di ca. 35 mm sull'elemento di copertura PREFA da applicare e viene rifilato (fig. 1 + 2).
  • L’aggraffatura a uncino marcata deve essere ripiegata (fig. 3).
  • L'elemento di copertura PREFA così realizzato viene agganciato e posato (fig. 4).

Specificità per la tegola

Occorre sempre scegliere una direzione di posa verso il compluvio. In questo modo si evita che, in caso di scivolamento di neve e ghiaccio in quest'area, la costa di sovrapposizione si pieghi verso l'alto.

  • Appoggiare la tegola e tagliare il margine interno rispetto alla bordatura del compluvio, rifilare la tegola lasciando ca. 35 mm di margine (fig. 1).
  • Battere leggermente la scanalatura nella zona del bordo di piegatura e piegare la tegola di 180° verso il suo retro. Poi inserire la tegola e fissarla con graffette di fissaggio (fig. 2 + 3).
  • Poiché sul bordo di piegatura la tegola è stata deformata, il modo più semplice per riportare la scanalatura alla sua forma originale quando è coperta è quello di usare un manico di martello messo in obliquo. Questo evita che la tegola si deformi (fig. 4).

Peculiarità della scandola e della scandola DS.19

Nota

Con le scandole e le scandole DS.19 si deve evitare in ogni caso che il punto di intersezione sia sul lato sinistro del compluvio.

Scandola

Se l'intersezione del giunto tra compluvio e scandola coincide con il compluvio sul lato sinistro, nel caso delle scandole da copertura è necessario prima realizzare e montare una scandola accorciata (1) o una scandola XL (2).

scandola DS.19

Se l'intersezione del giunto tra compluvio e scandola coincide con il compluvio, nel caso delle scandole DS.19 è necessario prima montare una scandola XL (1) DS.19.
Non è possibile accorciare una scandola DS.19 a causa della nervatura capillare.

Particolarità della tegola R.16 e del pannello per tetto FX.12

  • Se l'intersezione del giunto tra compluvio e tegola coincide, si deve prima fare un pezzo di raccordo e montarlo (fig. 1).
    Nota: nel caso di converse di compluvio artigianali, l'intersezione deve essere evitata a tutti i costi.
  • Per evitare l'intersezione, realizzare un pezzo di raccordo da una tegola R.16 intera o da un pannello FX.12 intero (fig. 2 + 3).
    ATTENZIONE: Scegliere la dimensione del pezzo di raccordo in modo da non ostacolare la posa dei nasi fermaneve. Una realizzazione ben fatta è chiaramente visibile dall'allineamento dei nasi fermaneve.

Nota

In caso venga usato un compluvio con ripiega di sicurezza, è anche possibile realizzare il raccordo del compluvio in modo tale che il punto di intersezione del giunto tra compluvio e lastra coincida.

Rivestimento del displuvio e del colmo

A seconda della stratigrafia del tetto e della sua funzione ci sono varie possibilità.

Copricolmo ventilato

Il copricolmo ventilato può essere utilizzato su tetti con pendenza da 12 a 55°.
Il copricolmo ventilato originale presenta una lamiera di sostegno laterale su entrambi i lati. Tuttavia, è opportuno rialzare la copertura di 40 mm per ottenere un raccordo resistente alla pioggia.
Fissare l'ultima fila di lastre (se necessario tagliate su misura) con una graffetta di ritorno, per mezzo di un fissaggio diretto sulla cresta d'onda del profilo ondulato sottostante (per tegole PREFA) o tramite il fissaggio diretto sopra il cuneo di schiuma rigida del copricolmo ventilato.

Montaggio

  • L'allineamento dell'ultima fila deve essere fatto in modo tale che ci sia una luce di 80 mm. Posizionare gli elementi per la copertura PREFA a ca. 40 mm in verticale (fig. 1).
  • Mantenere dei giunti di dilatazione di ca. 5 mm tra i singoli copricolmi ventilati e poi staccare ca. 50 mm della pellicola adesiva protettiva del cuneo di tenuta e piegarla verso l'esterno (fig. 2).
  • Centrare entrambi i manicotti di giunzione e rivettare ciascuno con un rivetto PREFA Ø 4,1 mm come punto fisso (fig. 3).
  • Incollare il cuneo di tenuta con la superficie di tenuta già rimossa sotto i manicotti di giunzione. Poi staccare la pellicola adesiva protettiva (fig. 4).
  • Fissare l’aeratore di colmo con viti di tenuta PREFA (lunghezza 60 mm) a una distanza di ca. 600 mm (fig. 5).
    Nota:
    Nel caso delle tegole, posizionare sempre la vite di tenuta sulla sommità della scanalatura.
    Nel caso delle scandole e delle scaglie, non fissare gli elementi di fissaggio sull'aggraffatura a uncino inclinata.
    Nel caso di FX.12 e R.16 non fissare gli elementi di fissaggio sull'aggraffatura angolare.
  • Proposta per il montaggio della testa del copricolmo ventilato (fig. 6).
    Suggerimento: montare prima la lastra di copertura nell'area del bordo e lasciare 30 mm per la grondalina del timpano, poi attaccarla.
  • Adattare la testa del copricolmo ventilato e fissarla con un rivetto (fig. 7).
  • Esempio: Taglio displuvio/colmo (Fig. 8).

Nota

Assicurarsi che il cuneo in schiuma aderisca all'elemento di copertura per tutta la sua lunghezza.

Nota

Quando si sistemano le aperture per l'aerazione sul lato del colmo delle strutture del tetto a strato singolo, non si può escludere completamente la penetrazione di neve spinta dal vento.

Abbaino a due falde

Quando si collega il copricolmo ventilato al compluvio, è necessario sigillare il copricolmo ventilato con una chiusura e realizzarlo in maniera tale che l'acqua piovana proveniente dalla superficie principale del tetto non possa penetrare nel copricolmo ventilato.

Rivestimento del displuvio e del colmo con copricolmo e displuvio

Per garantire che il tetto sia resistente al carico della neve spinta dal vento, è assolutamente necessario rialzare la copertura PREFA di min. 40 mm nella zona del displuvio e del colmo.
Se l'ultima fila di lastre è molto corta, si può anche realizzare un grembiule continuo in lamierino a nastro.

Suggerimento: segnare il centro del listello di colmo con il cordino colorato per garantire un andamento preciso.

Nota

Tagliare il copridispluvio esattamente nella forma delle scanalature o delle aggraffature.

1 Vite di fissaggio con rondella di tenuta

2 Chiodo

1 Vite di fissaggio con rondella di tenuta
2 Chiodo

3 Grembiule

Esempio di formazione displuvio/colmo

  • Tagliare entrambe le coperture che corrono sopra il displuvio in modo che si sovrappongano per ca. 10 mm sul lato dell'anca e fissarle ai listelli del tetto con le viti (fig. 1).
  • Poi tagliare mezzo displuvio in modo tale che copra il primo taglio dei due displuvi sottostanti. Per facilitare l'adattamento della copertura superiore, tirare la zona esterna del taglio come si vede nella foto (fig. 2).
  • Una volta attaccato il displuvio così realizzato al listello di colmo, si può continuare con i displuvi convenzionali (fig. 3).

Specifica della tegola

Se si monta un grembiule continuo sulla tegola, allora la sua bordatura superiore deve essere allineata in modo che sia possibile agganciare un grembiule dritto.

  • Tagliare la bordatura del punto alto della scanalatura e sollevarla con lo stampo (fig. 1 e 2).
  • Spianare la scanalatura a colpi di martello per creare un'aggraffatura aperta uniforme. Non è necessario praticare un'incisione nel punto di giunzione delle lastre (fig. 3).
  • Ora è possibile agganciare il grembiule senza problemi (fig. 4).

Specifica per la scaglia 29 × 29 e la scaglia 44 × 44

Se sulle scaglie 29 × 29 o 44 × 44 si monta un grembiule continuo, si devono utilizzare le scaglie finali per scaglie 29 × 29 o 44 × 44, Che permettono un'aggraffatura di aggancio orizzontale.

Tra le scaglie finali per scaglie 29 × 29 si deve montare il nastro di copertura in dotazione (1).

Raccordo del colmo semplice con aggraffatura di aggancio orizzontale

Dopo aver tagliato l'elemento di copertura PREFA, realizzare un'aggraffatura di aggancio.

Specifica per le tegole

Dopo aver tagliato la tegola, nella scanalatura centrale viene fatta una piega schiacciata per creare un'aggraffatura di aggancio. La piega schiacciata può essere realizzata con un'aggraffatrice o con una nervatrice.

Raccordo del colmo con semplice calotta copricolmo

Se la distanza tra l'elemento di copertura PREFA e il punto di colmo è inferiore a 150 mm, si può usare una semplice calotta copricolmo e non è necessario alcun sistema di aerazione.

Raccordo con il cornicione

Tegola

Il raccordo viene realizzato con due grondaline di partenza.

Grondalina di partenza per tegola

Grondalina di partenza scanalata

  • Attaccare la prima grondalina di partenza (1.806 × 150 mm) come di consueto.
  • Attaccare la seconda grondalina di partenza (grondalina scanalata) sulla prima fila di tegole all'altezza dell'aggraffatura della superficie principale del tetto. In base alle esigenze di cantiere, inserire un nastro sigillante per ottenere una fessura per l'aggraffatura di aggancio della tegola sovrastante (fig. 1).
  • La fila successiva di tegole può quindi essere posata su tutta la larghezza (fig. 2).

Tegola R.16 e pannello per tetto FX.12

  • 30 mm segnare la sporgenza e tagliare la tegola R.16 / il pannello per tetto FX.12 (fig. 1).
  • Incidere l'aggraffatura superiore per ca. 200 mm e staccarla (fig. 2).
  • Ripiegare in su tutta l'aggraffatura di aggancio superiore (fig. 3).
  • Ripiegare il margine di 30 mm e aggraffare la guida del timpano (fig. 4).
  • Segnare in corrispondenza del cornicione la tegola R.16 / il pannello per tetto FX.12 da accorciare ed eseguire il taglio (fig. 5).
  • Posare la tegola R.16 / il pannello per tetto FX.12 accorciati (fig. 6).
  • Entrambe le tegole R.16/i pannelli FX.12 vengono aggraffati e nella zona di aggancio l'aggraffatura viene ripiegata (fig. 7).
  • Ripiegare la zona di aggancio e fissarla con la graffetta brevettata (fig. 8).
  • La fila successiva di tegole R.16 / pannello per tetto FX.12 può quindi essere posata su tutta la larghezza (fig. 9).

Scandole e scandola DS.19

  • Se per il cornicione è necessaria una prima fila con scandole accorciate, allora accorciare le scandole/scandole DS.19 per questo scopo (fig. 1).
  • La fila successiva di scandole può quindi essere coperta su tutta la larghezza (fig. 2).
  • Cornicione con copertura finita (fig. 3).

Scaglia 29 × 29 e scaglia 44 × 44

Per i cornicioni con scaglie 29 × 29 o 44 × 44, nella maggior parte dei casi è necessario realizzare un adattamento della scossalina per la linea di gronda. In questo modo è più facile iniziare con l'apposita scaglia di partenza per le scaglie 29 × 29 o 44 × 44 (fig. 1A + 1B).

Variante A: Aggraffatura orizzontale

La fila successiva di scaglie può quindi essere coperta su tutta la larghezza (fig. 2A + 2B).

Variante B: Aggraffatura verticale

Completamento della posa del raccordo con il cornicione (fig. 3A e 3B).

Raccordo a una grondaia cornicione

Piegare la grondalina di partenza 1.806 × 150 mm come illustrato nella figura seguente (2 staffe).